STEEL INTERIOR DOORS

FOR ALL AREAS OF LIFE AND WORK

That suits your ideas. Doors connect rooms and people. They provide safety and security, create transitions between different areas of life and work. They provide intimacy and give people the opportunity to withdraw and find peace and quiet. For confidential dialogue. For concentrated work. For undisturbed play. At home, at school, during leisure time or in the office. That is why it is important that doors really "fit", that they blend into rooms and fulfil their function permanently and securely. You will find all these features in the Novoferm interior door programme. Reliable products for sophisticated interior fittings. With high functionality, top quality and plenty of scope for your personal style.

High quality and cosy
Novoferm steel interior doors are particularly high quality thanks to their 40 mm thick, double-walled door leaf. The high-quality rebate gives the door a cosy character.

For all areas
Novoferm interior doors can be used for all living and working areas. The doors are available in many RAL colours, DB colours, metallic colours, special paint finishes and glazing.

Impressive details
The doors impress with well thought-out details. For example, with an integrated magnetic board or an integrated floor seal that is triggered mechanically - lowers when the door is closed and keeps out cold air and noise.

Door comparison and properties

Comparison of interior doors

Interior doors

DesignationDoor 1 +2panelThick rebate / flush rebate - available door panel thicknessesSound insulation RWp test valueThermal transmittance coefficient U-value in W/m2KConstruction dimension mmGlazing possible
Interior doors

Door 1 +2fl.

Thick rebate

26 dB1) 2)

2,3

min. 500 x 1600

max. 2500 x 2500

-

Classic interior doors

Door 1 +2panel

Thick rebate 0.88

30 dB1)

k. A.

min. 500 x 1600

max. 2500 x 2250

-

Access door Super Safe

Door 1 leaf.

Thick rebate 0.7

26 dB1) 2)

2,3

min. 750 x 1875

max. 1125 x 2250

-

-Yes - No

1) Abs. door seal 2) Stop shaft / 4-sided

Interior door details

Interior door details

NOVOFERM INTERIOR DOORS - THE DECISIVE DETAILS

DICKFALZ
The high-quality rebate gives the door a cosy character. High-quality construction. 40 mm thick, double-walled door leaf, rebated on 3 sides. This design is visually impressive and gives the door outstanding stability.

FLOOR SEALING
An integrated floor seal, which is triggered mechanically and lowers when the door is closed, keeps cold air and noise outside. Sound insulation values of up to 30 dB possible in conjunction with tubular chipboard panelling

HONEYCOMB, STYROPOR, TUBE CHIP FILLING
The fully bonded, close-meshed honeycomb filling provides unrivalled stability and absorbs any "tinny" sound when knocking. Optionally, you can have optimised thermal and sound insulation with the polystyrene filling* or a classic tubular chipboard filling

FRAME SEALING
Our selection of seals enables different closing pressures. Draughts are reliably prevented in all cases

SHORTABLE DOOR SHEET
Door leaf can be shortened by up to 20 mm at the bottom for uneven floors or new flooring

SURFACES
From super standard to RAL and DB colours of your choice

OVERFLOW GASKET
An integrated overflow gasket that runs on a 3 mm high aluminium profile when the door is closed

STRAP AND STRAP CASE
Classic 2-part strap, optionally available in 3 parts (3-part strap with strap pin lock available), also in stainless steel.

The seat and design of the strap pocket comply with DIN 18111, making it easy to replace at any time. A third strap can also be ordered

GLAZING
Transparency or brightness, round or square, selectable in number and size. Versions e.g: ESG, VSG, wired glass, Mastercarré or pre-equipped for on-site solutions. Glass retaining strips made of aluminium or steel. Further functional solutions for door viewer, letter slot, ventilation grille etc. are possible

HANDLE GARNITUREN
Novoferm offers designs ranging from classic to modern, retrofitting possible (design: coloured or profile cylinder).
VARIABLE HANDLE HEIGHT
The height of the handle can be adapted to suit the needs of the disabled (850-1,200 mm) or individually for schools, for example

Your plus points at a glance

  • Steel interior doors for all living and working spaces
  • High-quality steel and hard-wearing, easy-care surfaces
  • Cosy look thanks to thick rebate
  • Double-walled door leaves with sound and thermal insulation, reliable and tight-closing
  • Available in many attractive colours and decors

TYPES, COLOURS AND EQUIPMENT

COLOURS FOR SUPER STANDARD INTERIOR DOORS

COLOURS FOR SUPER STANDARD INTERIOR DOORS

Super-Standard

  • Door leaf:
    40 mm thick
    Rebated on 3 sides
    made of hot-dip galvanised thin sheet
  • Frame:
    electrocoated corner frame with three-sided circumferential seal
    and complete hinge parts
  • Lock and fitting:
    BB/PZ lock, with black round lever handle set
  • Door leaf surface:
    galvanised

Standard

COLOURS FOR SUPER PLUS INTERIOR DOORS

COLOURS FOR SUPER PLUS INTERIOR DOORS

SUPER-PLUS INTERIOR DOORS

  • Design as Super-Standard

    However, additionally:
  • Door leaf surface:
    galvanised and primed with an environmentally
    friendly powder coating
    similar to RAL 9016, traffic white

Traffic white
similar to RAL 9016

Platinum white
similar to
RAL 9002

COLOURS FOR SUPER COLOR INTERIOR DOORS

COLOURS FOR SUPER COLOR INTERIOR DOORS

SUPER-COLOR INTERIOR DOORS

  • Design as Super-Standard

But additionally:

  • Door leaf surface:
    galvanised and primed with an environmentally friendly, textured powder coating
  • Possible colours:
    Super-Color

Light grey
similar to
RAL 7035

Window grey
similar to
RAL 7040

Anthracite grey
similar to
RAL 7016

Nut brown
similar to
RAL 8011

Sepia brown
similar to
RAL 8014

Platinum white
similar to
RAL 9002

Steel blue
similar to
RAL 5011

Fir-green
similar to
RAL 6009

SPECIAL PRIMER

SPECIAL PRIMER

SPECIAL PRIMER FOR INTERIOR DOORS

  • Design as Super-Standard

But additionally:

  • Door leaf surface:
    galvanised and primed with an environmentally friendly powder coating
  • Possible colours:
    RAL colours
    DB colours
    Metallic colours (except pearl effects)
    and special paint finishes

RAL colour
(blue)

RAL colour fan

Metallic colour fan

SPECIAL PRIMER FOR INTERIOR DOORS

  • Design as Super-Standard

But additionally:

  • Door leaf surface:
    galvanised and primed with an environmentally friendly powder coating
  • Possible colours:
    RAL colours
    DB colours
    Metallic colours (except pearl effects)
    and special paint finishes

DB colour
(702)

DB 301

DB 501

DB 601

DB 510

DB 701

DB 703

GLAZING AND LIGHT OPENINGS

GLAZING AND LIGHT OPENINGS

MORE LIGHT THROUGH LIGHT OPENINGS
Letting more light into the room is often an important criterion when selecting and planning interior doors. Novoferm offers many different light opening variants as well as round glazing at an extra charge.

The glazing beads provided for this are optionally available in aluminium or steel.

Super-Color
With light aperture 1

Super-Colour
With light aperture 2

Super-Color
With RAL of your choice (at extra cost), with light aperture 3

Super-Color
With round glazing and stainless steel lever handle set (at an extra charge)

GLAZING FOR INTERIOR DOORS

The choice of glazing also has a decisive influence on the effect of the door. We offer our customers the following options:

  1. Glazing unit (without glass) for 6 mm thick glass or acrylic glass
  2. Standard glass design:
    Wire-ornamented glass (illustrations above, light opening 1-4), light-coloured, 6-7 mm thick
  3. Laminated safety glass
    (VSG, 6 mm thick), toughened safety glass (ESG, 6 mm thick) or insulating glass (14 mm thick float glass, only to be fixed with steel or aluminium strip)
  4. Special glass design: Ornamental glass in float glass structure, 6 mm thick, in three different designs: Mastercarré, Satinato and frosted glass (illustrations on the right) for customised design. These diffuse the light in different shades and protect against indiscreet glances.

Mastercarré

Satin

Frosted glass

LEVER HANDLE SETS AND OTHER ACCESSORIES

LEVER HANDLE SETS AND OTHER ACCESSORIES

HANDLESETS AND OTHER ACCESSORIES
Matching handle sets add the finishing touch to your door. Novoferm offers you a wide range of beautifully designed variants that allow you to open and close any door conveniently and easily. In addition to the standard fitting with the classic black round lever handle set, you can choose from a wide range of accessories including various round lever handle sets, lever handle sets and WC sets. We supply the colours red and white as standard. Special colours are available on request. Handle and lever handle sets in light metal and stainless steel are also available.

Exclusive accessories enhance your door even further. You can determine the fittings entirely according to your requirements and combine the accessories with each other.

Standard lever handle set BB/PZ
black with short backplate (profile cylinder optionally available on request)

Lever handle set,
PZ, light metal

Interchangeable set,
PZ, light metal

WC set,
PZ, light metal

Lever handle set

Interchangeable set

WC-Garnitur

SELECTION OF AVAILABLE HANDLE VARIANTS

Other handle shapes available on request.

The arch
D-110

Segment
D-510

Angle
D-310

Style
D-410

Letter slot flap
Just like our sample, deliberately kept simple, but other designs of letter slots, letter slots or cat flaps etc. are also possible, each matching the 40 mm sheet thickness.

Ventilation grille
Available in white, black, aluminium look or special colours. Aluminium or perforated metal grilles are also available on request.

Door closer
Both overhead door closers with scissor arm and slide channel closers are available. They can be installed on the hinge or opposite hinge side.

Steelinterior door
in the children's room

Colour: ruby red, similar to RAL 3003
Special feature: with magnetic board

Steelinterior door
in the study

Colour: grey-white, similar to RAL 9002
Special feature: with glazing (light opening 3)

Steelinterior door
in the study

Colour: Reseda green, similar to RAL 6011
Special feature: with glazing (light opening 3)

Steelinterior door
in the bedroom

Colour: Traffic white, similar to RAL 9016
Special feature: with glazing (light opening 3)

Technology and details

Technical data - Interior doors

Basic dimensions (BR) DIN 18100 (order dimensions) Width x height

Nominal dimensions DIN 18100 Width x height

Clear opening dimensions DIN 18111 Width x height

Door leaf outer dimensions DIN 18101 Width x height

External frame dimensions* Width x height

1-fl.

625 x 2.000

635 x 2.005

561 x 1.968

610 x 1.985

651 x 2.043

750 x 1.875

760 x 1.880

686 x 1.843

735 x 1.860

776 x 1.918

750 x 2.000

760 x 2.005

686 x 1.968

735 x 1.985

776 x 2.043

750 x 2.125

760 x 2.130

686 x 2.093

735 x 2.110

776 x 2.168

875 x 1.875

885 x 1.880

811 x 1.843

860 x 1.860

901 x 1.918

875 x 2.000

885 x 2.005

811 x 1.968

860 x 1.985

901 x 2.043

875 x 2.125

885 x 2.130

811 x 2.093

860 x 2.110

901 x 2.168

1.000 x 1.875

1.010 x 1.880

936 x 1.843

985 x 1.860

1.026 x 1.918

1.000 x 2.000

1.010 x 2.005

936 x 1.968

985 x 1.985

1.026 x 2.043

1.000 x 2.125

1.010 x 2.130

936 x 2.093

985 x 2.110

1.026 x 2.168

1.125 x 2.125

1.135 x 2.130

1.061 x 2.093

1.110 x 2.110

1.151 x 2.168

1.250 x 2.000

1.260 x 2.005

1.186 x 1.968

1.235 x 1.985

1.276 x 2.043

1.250 x 2.125

1.260 x 2.130

1.186 x 2.093

1.235 x 2.110

1.276 x 2.168

Super-Standard special sizes up to 1,250 x 2,500 mm, Super-Plus special sizes up to 1,250 x 2,250 mm. Super-Colour and Classic: special sizes up to 1,250 x 2,250 mm. *Including floor recess 30 mm

2-fl.

1.500 x 2.000**

1.510 x 2.005

1.436 x 1.968

1.485 x 1.985

1.526 x 2.043

1.750 x 2.000**

1.760 x 2.005

1.686 x 1.968

1.735 x 1.985

1.776 x 2.043

2.000 x 2.000**

2.010 x 2.005

1.936 x 1.968

1.985 x 1.985

2.026 x 2.043

2.000 x 2.125**

2.010 x 2.130

1.936 x 2.093

1.985 x 2.110

2.026 x 2.168

Super-Standard special sizes up to 2,500 x 2,500 mm, Super-Plus special sizes up to 2,500 x 2,250 mm. Super-Colour and Classic: special sizes up to 2,500 x 2,250 mm. *Including floor recess 30 mm **Centrally divided All dimensions in mm.

 

THE TECHNOLOGY FOR INTERIOR DOORS

LOWER DOOR CLOSURE

Door leaf can be shortened in the area of the U-profile

Lowerable floor seal (optional)

Overrun seal with flat round sill (optional)

Eckzarge
Profil 21
(Standard)

Surround frame
Profile 21
Masonry

Surround frame
Profile 23/1645
Stud frame

2-piece surround frame
Profile 2140/1645
Masonry or stud frame

Technical data - Light openings

Dimensions

Width x height

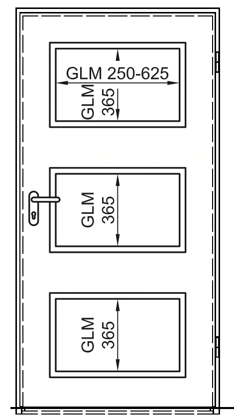
Light opening 1

Width x height

Light opening 2

Width x height

Light opening 3

Width x height

Light opening 4

Width x height

 

 

 

 

 

 

1-flg.

Standard size

625 x 2.000

270 x 385

270 x 985

270 x 1.360

3 x 270 x 385

750 x 1.875

395 x 385

395 x 985

395 x 1.235

3 x 395 x 385

750 x 2.000

395 x 385

395 x 985

395 x 1.360

3 x 395 x 385

750 x 2125

395 x 385

395 x 985

395 x 1.485

3 x 395 x 385

875 x 1.875

520 x 385

520 x 985

520 x 1.235

3 x 520 x 385

875 x 2.000

520 x 385

520 x 985

520 x 1.360

3 x 520 x 385

875 x 2.125

520 x 385

520 x 985

520 x 1.485

3 x 520 x 385

1.000 x 1.875

645 x 385

645 x 985

645 x 1.235

3 x 645 x 385

1.000 x 2.000

645 x 385

645 x 985

645 x 1.360

3 x 645 x 385

1.000 x 2.125

645 x 385

645 x 985

645 x 1.485

3 x 645 x 385

1.125 x 2.125

770 x 385

770 x 985

770 x 1.485

3 x 770 x 385

1.250 x 2.000

895 x 385

895 x 985

895 x 1.360

3 x 895 x 385

1.250 x 2.125

895 x 385

895 x 985

895 x 1.485

3 x 895 x 385

2-flg.

Standard size

1.500 x 2.000*

520 x 385

520 x 985

520 x 1.360

3 x 520 x 385

1.750 x 2.000

520 x 385

520 x 985

520 x 1.360

3 x 520 x 385

2.000 x 2000

645 x 385

645 x 985

645 x 1.360

3 x 645 x 385

2.000 x 2.125

645 x 385

645 x 985

645 x 1.485

3 x 645 x 385

* Glazing only in the active leaf. All dimensions in mm.

SPECIAL EQUIPMENT

Special lever handle height
Door viewer
Ventilation grille with perforated plate
Ventilation cross-section 175-200 cm2
Other dimensions on request

Ventilation grille
optionally top/bottom,
top and bottom
Further installation parts on request,
e.g. letter slot flap, cat flap, etc.

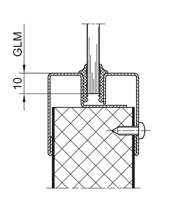
GLASS RETAINING STRIPS

LM glazing beads

LM or V2A glazing beads

Steel glazing beads

LIGHT OPENING

Light opening 1-3
Version in LM or steel, galvanised and primed

Light opening 4
Version in LM or steel, galvanised and primed

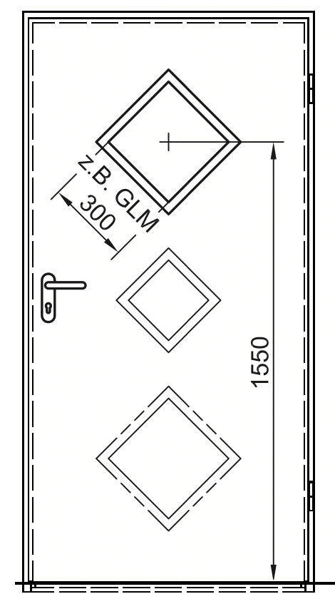
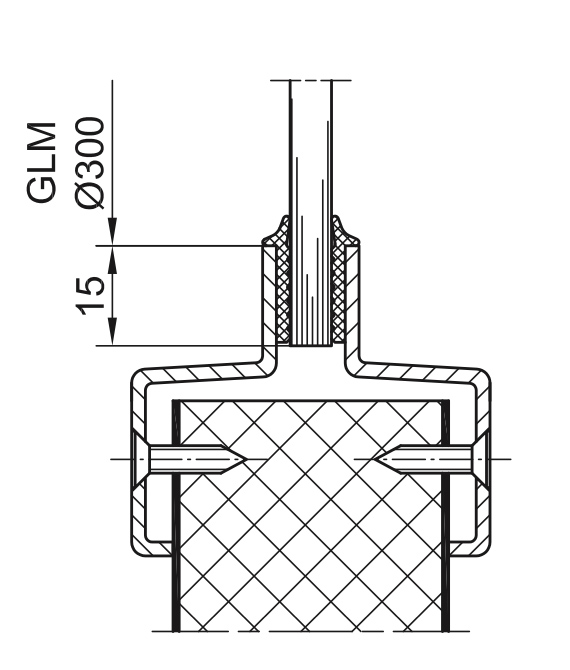
Round glazing
Version in LM or V2A

Diamond glazing
Version in LM or steel, galvanised and primed

Special light openings
(example 1)
Design in steel, galvanised and primed, order-related clarification of shapes, dimensions and arrangement

Special light openings
(example 2)
Design in steel, galvanised and primed, order-related clarification of shapes, dimensions and arrangement

STANDARD GLAZING BEADS FOR RECTANGULAR AND RHOMBOID GLAZING

Super Standard
with aluminium glass retaining strips, paintable

Super-Plus / Super-Color
with aluminium glazing beads, E6 EV1 anodised

Classic
with aluminium glazing beads, E6 EV1 anodised